CRT to RGB Conversion (help needed)

Discussion in 'Modding and Hacking - Consoles and Electronics' started by segasonicfan, Jun 27, 2016.

  1. segasonicfan

    segasonicfan Robust Member

    Joined:
    Sep 23, 2011
    Messages:
    261
    Likes Received:
    40
    Hey folks,
    I'm back working on this Zenith TV from the original post for a friend's bday present. I'd like to add composite video to it so he can play games on a CRT at his bedside. However, this is proving more difficult than I thought.

    Pin 33 is supposed to support switching between and Ext. Video input (Pin 42) and the TV stock mode. It says use a 47k resistor to ground thought I found it didn't actually switch (and turn off audio) until I used a 27k resistor.
    Now, I can't get it to show anything using Pin 42 as an input. I've tried stock composite and sync with a voltage divider as well. This IC is screwy as well to me and does all sorts of weird mixing stuff. For example, it looks like Pin 37 may in fact be the video input, and 42/45 are just switching inputs that go through a small amp and then back out of the chip and into pin 37.

    Anyone have any suggestions on how to add composite to this? Here's a picture for reference. Jungle IC is a TA8879N:
    pin 42 TA8879N.png

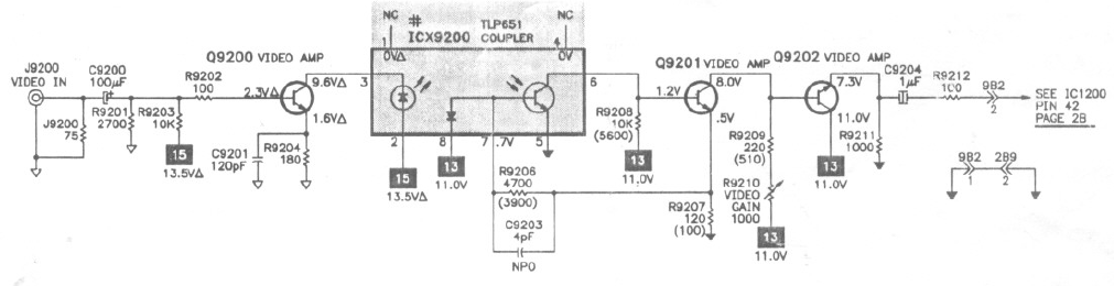
    also, according to the service manual, there is a model of this CRT with composite input. It has what appears to be an excessive amount of amplification of the input signal to reach 1V p-p though....what am I missing?
    pin 42 TA8879 amp.png
     
  2. segasonicfan

    segasonicfan Robust Member

    Joined:
    Sep 23, 2011
    Messages:
    261
    Likes Received:
    40
    did you ever get this mod worked out? Sorry I didnt reply before, but if you have analog RGB In you should be good to go! Just need to tie the blanking signal to +5v with a 10k resistor (usually the pin labelled Ys)

    -Segasonicfan
     
  3. segasonicfan

    segasonicfan Robust Member

    Joined:
    Sep 23, 2011
    Messages:
    261
    Likes Received:
    40
    In the unlikely event someone is interested, here are 2 videos covering the final hacking results I did to get the original Zenith 9" CRT working (opted for S-video):

     
  4. Star

    Star Rising Member

    Joined:
    Mar 8, 2015
    Messages:
    60
    Likes Received:
    1
    Cool stuff man!
    But as to your first post, even fairly late model tv's (designed and manufactured in the 2000's) can have analogue OSD.
     
sonicdude10
Draft saved Draft deleted
Insert every image as a...
  1.  0%

Share This Page