Sega Saturn 3D Pad for Dreamcast

Discussion in 'Rare and Obscure Gaming' started by sayin999, Aug 25, 2015.

  1. sayin999

    sayin999 Officer at Arms

    Joined:
    Mar 13, 2004
    Messages:
    3,407
    Likes Received:
    113
    image.jpg image.jpg Saw this at book off the other day but didn't pick up due to lack of funds. Sega Saturn 3d pad plugs directly into Dreamcast with dc controller sticker on top. From what I could see just standard Saturn 3d pad with dc cord in detachable piece. Was this a mod sold back in the day?
     
    Last edited: Aug 26, 2015
    Keiji Dragon likes this.
  2. DeChief

    DeChief Rustled.

    Joined:
    Jan 25, 2014
    Messages:
    1,704
    Likes Received:
    712
    Looks unofficial to me.
     
  3. HEX1GON

    HEX1GON FREEZE! Scumbag

    Joined:
    May 4, 2011
    Messages:
    9,916
    Likes Received:
    837
    DOCS is an actual 3rd party brand, a google search shows these wireless Dreamcast controllers:

    [​IMG]

    The logo looks the same as the one on the 3D controller.
     
  4. Vosse

    Vosse Well Known Member

    Joined:
    Aug 22, 2009
    Messages:
    1,731
    Likes Received:
    28
    ^ So that's where the Boomerang PS3 controller ran off to
     
  5. sayin999

    sayin999 Officer at Arms

    Joined:
    Mar 13, 2004
    Messages:
    3,407
    Likes Received:
    113
    Sticker just says dc controller back of controller has standard Saturn 3d controller branding.
     
  6. wombat

    wombat SEGA!

    Joined:
    Mar 14, 2004
    Messages:
    2,671
    Likes Received:
    319
    This is a home-brew effort, some time ago a hobbyist was also selling these on YAJ.
     
  7. HEX1GON

    HEX1GON FREEZE! Scumbag

    Joined:
    May 4, 2011
    Messages:
    9,916
    Likes Received:
    837
    That changes everything, you said doc originally.
     
  8. sayin999

    sayin999 Officer at Arms

    Joined:
    Mar 13, 2004
    Messages:
    3,407
    Likes Received:
    113
    Sorry was a typo. Perhaps this was a home made mod that was sold in Japan. I'm curious what kind of wiring was done inside the detachable cord to make it work with the DC.
     
  9. HEX1GON

    HEX1GON FREEZE! Scumbag

    Joined:
    May 4, 2011
    Messages:
    9,916
    Likes Received:
    837
    It's ok :D - Seems pricy though ~$20 I think, weird they could even put a price on something like this.
     
  10. sonicsean89

    sonicsean89 Site Soldier

    Joined:
    Dec 19, 2012
    Messages:
    2,207
    Likes Received:
    157
    I wonder what the Z and C buttons do. I would guess either nothing or they're mapped the L and R duplicates.
     
  11. dcnigma

    dcnigma Active Member

    Joined:
    Nov 16, 2014
    Messages:
    47
    Likes Received:
    15
    FYI:

    [​IMG]
    [​IMG]
    [​IMG]
    [​IMG]
    [​IMG]
    [​IMG]
    [​IMG]
    [​IMG]
    [​IMG]
    [​IMG]


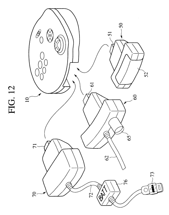
    saturnmemories:

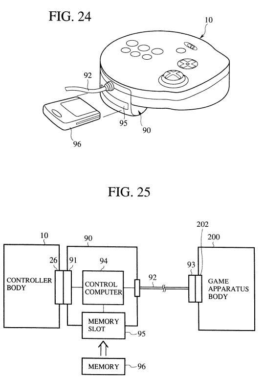
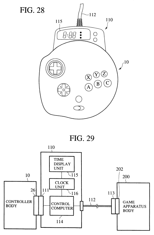
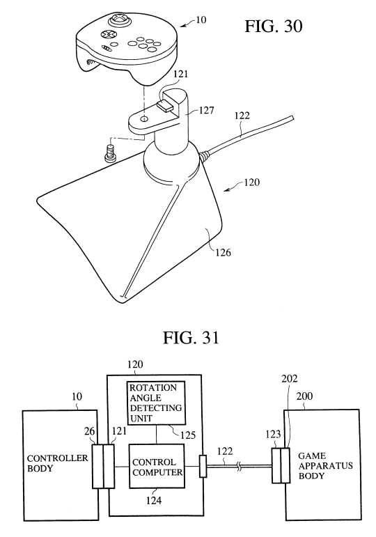
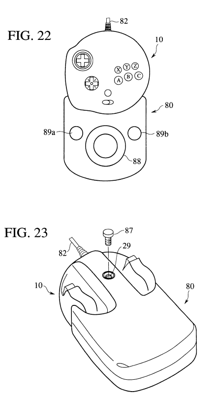
    What all did Sega envision creating for the Saturn 3D controller’s expansion slot? Here’s a breakdown:

    FIG. 12: Rumble pack (70), light gun expansion (60), IR wireless unit (52)

    FIG. 16: Joystick expansion (80)

    FIG. 18/19: Another joystick expansion (80)

    FIG. 20: Track ball expansion (80)

    FIG. 22: Another track ball expansion (80)

    FIG. 24: Memory module (90)

    FIG. 26: Image display screen (100)

    FIG. 28: Time display unit (110)

    FIG. 30: Racing wheel expansion (120)

    FIG. 33: Inclination detection unit (130)

    Source: http://www.google.com/patents/US6752719?pageId=110299005222651704840
     
    AUSTIN PEYTON and Keiji Dragon like this.
  12. sayin999

    sayin999 Officer at Arms

    Joined:
    Mar 13, 2004
    Messages:
    3,407
    Likes Received:
    113
    Honestly the idea was ahead of the competition but it was too late. Yuji Naka states that its intention was to be used with a motion sensing atachment for the sequel to nights.
     
    Keiji Dragon likes this.
  13. speedyink

    speedyink Site Supporter 2016

    Joined:
    Apr 10, 2015
    Messages:
    1,409
    Likes Received:
    584
    Damn, I always wondered why the cord was detachable. The wireless insert would have been bad ass!
     
    Keiji Dragon likes this.
  14. skyway1985

    skyway1985 Enthusiastic Member

    Joined:
    Jan 23, 2014
    Messages:
    543
    Likes Received:
    130
    That's an American/Euro 3d controller in japan??? Odd... seen the DC mod plenty of times though.
     
  15. sayin999

    sayin999 Officer at Arms

    Joined:
    Mar 13, 2004
    Messages:
    3,407
    Likes Received:
    113
    No actually Book Off has some stores in the U.S. but only in select cities.
     
  16. skyway1985

    skyway1985 Enthusiastic Member

    Joined:
    Jan 23, 2014
    Messages:
    543
    Likes Received:
    130
    Seriously? Wth!?! Any on the east coast? Do they have import goods???
     
  17. sayin999

    sayin999 Officer at Arms

    Joined:
    Mar 13, 2004
    Messages:
    3,407
    Likes Received:
    113
    Yeah they do but it depends on location. I know the one in L.A. didn't have any imports but the one here in San Diego has tons with half the store being used japanese games and movies. It really just depends on what the customer base in that area brings in. http://www.bookoffusa.com/?cmd=store seems to be one location on the east coast in New York.
     
  18. Anthaemia.

    Anthaemia. The Original VF3 Fangirl™

    Joined:
    Jun 4, 2004
    Messages:
    1,654
    Likes Received:
    220
    Those planned attachments for the Saturn's 3D Control Pad (and Air NiGHTS, for that matter)... What could have been, huh?!

    *drools*
     
    Keiji Dragon likes this.
  19. sayin999

    sayin999 Officer at Arms

    Joined:
    Mar 13, 2004
    Messages:
    3,407
    Likes Received:
    113
    Well it was still there when I went yesterday so I picked it up. I'll give thoughts on it when I get a chance maybe do a video.
     
    americandad and Borman like this.
  20. Yakumo

    Yakumo Pillar of the Community *****

    Joined:
    Mar 14, 2004
    Messages:
    20,515
    Likes Received:
    1,050
    Please do. It will be interesting to hear how it works with the Dreamcast.
     
    Keiji Dragon likes this.
sonicdude10
Draft saved Draft deleted
Insert every image as a...
  1.  0%

Share This Page